仓储物流设备整体解决方案
咨询:0731-85172328
售后:0731-85172978
手机: 139 7516 2898
手机:139 7516 2898
电话:0731-8517 2328
电动搬运车
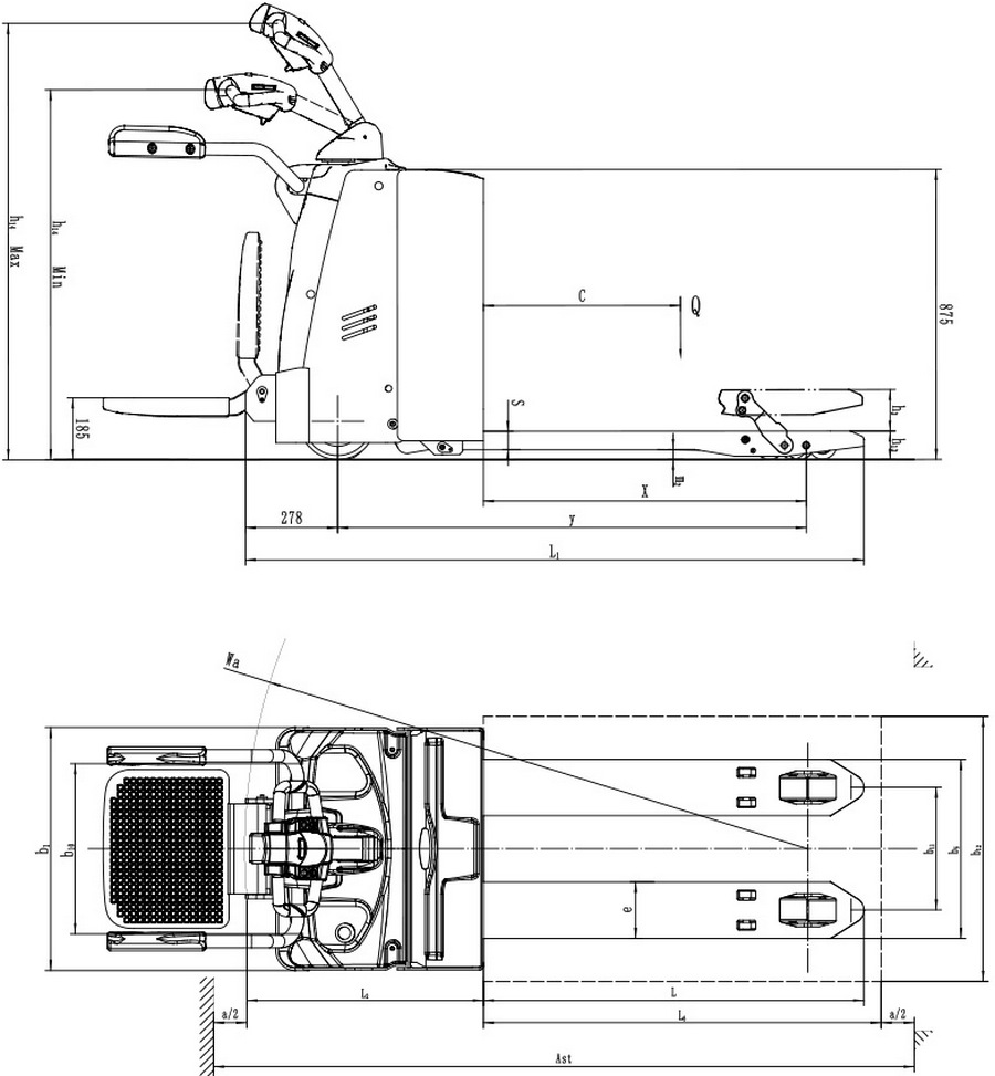
向前:中力RPL202Z锂电池全电动搬运车
向后:没有了!